一、开发板介绍
MC632X是一款支持两路mipi输入,单路mic输入,集成0.5TOPS算力的新一代双路4M图像处理芯片。双核异构(900MHz+450MHz),支持双路2×5MP@15fps或单路5MP@30fps,两路不同Sensor同步输出,双路画面独立显示或拼接显示,同时可拼接两路视频输出,实现更大视场角画面。搭载富瀚新一代ISP,支持3D降噪/自动坏点消除/动态范围处理,可配置Bayer格式与广角矫正(≤5%),H.265/H.264 2880x1620@30fps高效编码。MC632X凭借优异的图像处理能力和灵活的显示接口配置,能够充分满足智能硬件市场多样化的产品需求。

开发板外观如图:

常用板载资源如下:
MCU 型号:MC6321
应用处理器:
最高支持 900MHz
32K byte I-CACHE, 32K byte D-CACHE
支持浮点运算
协处理器:
最高支持 450MHz
8K byte L1 I-Cache,8K byte L1 D-Cache
视频编解码
H.265/H.264 编码性能:
2304x1296@30fps H.264/H.265 编码
JPEG 编解码性能:
2304x1296@30fps 编解码
ISP
支持 RGB Bayer 数据格式,Sensor 输出窗口坐标随意
支持标准 Bayer Pattern 2x2 起始点可配置
支持暗角矫正(强度可配)
支持轻度广角矫正(矫正幅度不超过 5%,中心/强度可配置)
支持自动坏点消除
支持动态范围处理
支持高性能 3D 降噪
支持高性能 2D 降噪
支持高性能 CFA
支持 AE/AWB 统计和控制
支持局部对比度调整和细节增强
支持颜色校正、色度空间调整
支持图像效果调整(亮度、锐度、饱和度和 Gamma)
支持 Y/C 域降噪
支持自适应锐化
支持视频缩放
支持 OSD 叠加 (仅主/子幅面支持 OSD 叠加)
支持两个大小可配置的 Graphic
Graphic data 支持 ARGB1555
支持多窗口的 TXT 菜单(4x Window)
TXT 字体大小可配置(16x16 ~ 64x64)
字库可配置
TXT 菜单自动反色
支持对待编码数据的 90 度、180 度、270 度旋转
NN智能
神经网络硬件加速引擎,算力 0.5TOPS
支持人形和人脸等网络结构
视频输入接口
分时支持最多 2 路 Camera inputs
单路最大支持 3MP@30fps
双路最大支持 2*3MP@15fps
音频编解码
软件实现多协议音频编解码,支持 G.711、G.726
音频接口
1 个 I2S/PCM 接口,用于外接 Audio Codec
内置 Audio Codec, 支持一路单独端麦克风输入,1 路单端 lineout 输出,支持32KHz, 44.1KHz 两个系列采用率
1 路数字 MIC,为 PDM 接口
安全加速器
硬件实现 AES ECB/CBC/OFB/CFB/CTR、DES/3DES 加解密算法
网络接口
支持 10/100Mbit/s 半双工或全双工
集成 FE PHY
SAR-ADC
内置 2 通道 SAR ADC 用于外接应用设备
外围接口
支持 1 个 SPI 接口
支持 2 个 I2C 接口
支持 2 个 PWM 和 8 个 STM
支持 2 个 SDIO2.0 接口
支持多个 GPIO 接口
1 个 USB 2.0 ,支持 HOST 及 Device 接口
3 个 UART 接口,其中 1 个支持 4 线
存储器接口
内封 DDR2 64MB,最高速率 1333Mbps
1 个 SPI NOR/NAND flash 接口
1、2、4 线 SPI NOR/NAND flash
2 个片选,可分别接不同类型的 flash
支持 DTR 模式
内置 48KB BootROM
RTC
RTC 可通过电池独立供电
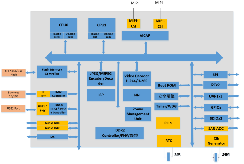
二、系统框图

开发实践指南:富瀚微MC632X开发实践指南
我有疑问:RT-Thread 官方论坛
